VC-714-ECE-FAAN-200M000000TR,7050mm,200MHz,Microchip振荡器,美国进口晶振,Microchip晶振,型号:VC-714,编码为:VC-714-ECE-FAAN-200M000000TR,电压3.3V,LVPECL输出差分晶振,工作温度范围:-40℃至+85℃,频率稳定性:±25ppm,频率为:200MHz,小体积晶振尺寸:7.0x5.0 mm,六脚贴片晶振,石英晶振,有源晶振,差分晶体振荡器。具有低抖动,低功耗,低相位噪声,低电平,低耗能,低电压等特点。VC-714系列应用于:医疗设备、超声波,以太网、GbE、SynchE,光纤通道,PON、A/D、D/A、FPGA的时钟源,测试和测量,存储局域网络等应用。
VC-714-ECE-FAAN-200M000000TR,7050mm,200MHz,Microchip振荡器,产品特点:
典型40 fsRMS相位抖动,12 kHz至20 MHz
第三次OT或基本水晶设计
扩展的工作温度范围:-40°C至+125°C
输出频率:100MHz至312.5MHz有源晶振
卓越的电源抑制率
通电和启用时无故障输出
密封7.0 x 5.0mm陶瓷包装
产品符合RoHS指令,并完全兼容无铅组件(不包括焊料浸渍,_SNPB,选项)
VC-714-ECE-FAAN-200M000000TR,7050mm,200MHz,Microchip振荡器,参数表
Parameter
Sym.
Min.
Typ.
Max.
Units
Conditions
Supply Voltage (Note 1)
VDD
2.375
2.5
2.625
V
Ordering Option
3.135
3.3
3.465
Current Consumption
IDD
70
mA
Frequency
Nominal Frequency
fN
200
MHz
Ordering Option
Stability (Note 2)
±25
ppm
Ordering Option
±50
±100
Outputs
Output Logic Level High (Note 3)
VOH
VDD–
1.085
—
VDD–
0.860
V
VDD= +2.5V
Output Logic Level Low (Note 3)
VOL
VDD–
1.810
—
VDD–
1.620
Output Logic Level High (Note 3)
VOH
VDD–
1.085
—
VDD–
0.880
V
VDD= +3.3V
Output Logic Level Low (Note 3)
VOL
VDD–
1.810
—
VDD–
1.620
Output Rise and Fall Time (Note 3)
tr/tf
400
ps
Load
50Ω into VDD– 2.0V
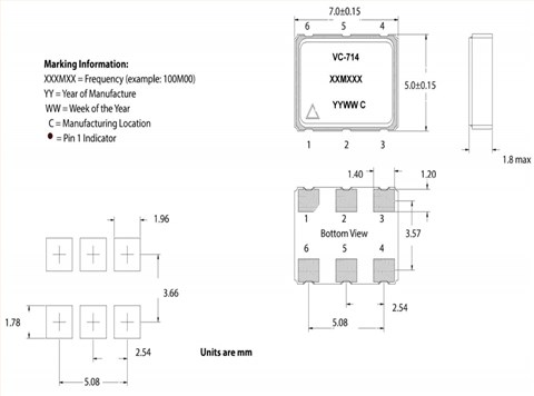
VC-714-ECE-FAAN-200M000000TR,7050mm,200MHz,Microchip振荡器,尺寸图






爱普生晶振,贴片晶振,FC-135晶振,FC-135R晶振,Q13FC1350000400晶振
EH1400SJETTTS-20.000M,Ecliptek陶瓷振荡器,CMOS输出晶振
EH2600ETTTS-100.000M,Ecliptek晶振厂家,7050mm,低电压晶振
DSC1003DI2-024.5760T,Microchip振荡器,2520mm,便捷式电子设备晶振
SI50122-A2-GM,Silicon差分晶振,2520mm,数字电视应用晶振
DSC1025BI1-125.0000,5032mm有源晶振,Microchip消费电子晶振
AGTCO-ST5032晶体,ARGO电子,温补石英晶振,有源晶体振荡器
VCXO-7A晶振,VCXO压控晶振,进口有源晶振,CORE晶振